静态数据管理
更新时间:2024-11-01
1. 模块功能介绍
- 解决同租户下多个环境之间数据隔离无法互通的问题
- 解决id在内网环境配置测通到生产环境后id会变化的问题
- 支持同租户跨环境将静态数据一键导出和导入复制
2.数据的导出和导入操作
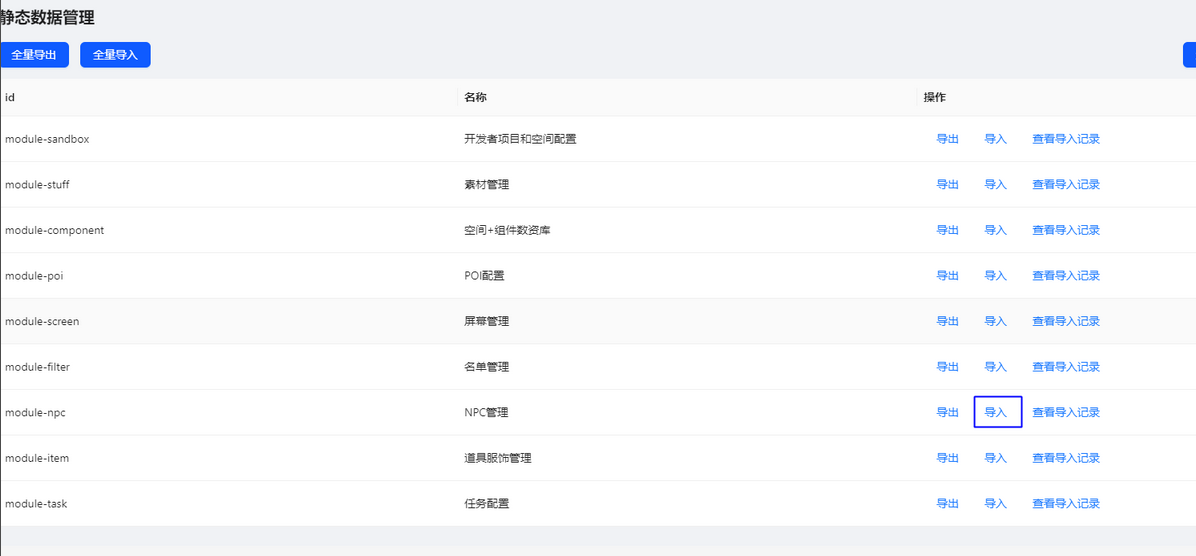
2.1进入静态数据管理模块

2.2添加要进行数据导入导出的模块
- 目前运营系统上可配置的静态数据模块包括
- 素材管理
- 名单管理
- NPC管理
- 屏幕管理
- 道具服饰管理
- 开发者项目和空间配置
- POI配置
- 任务配置
- 空间+组件数资库
- 题库管理
-
抽奖管理

2.3导出操作
1.默认支持添加模块的全量数据导出
- 数据导入时不无视当前添加的模块,进行文件夹下全量json的导入(有哪些json就导入哪些数据)
- 也可以进行单一模块的数据导出和导入操作(需要选中导入的json表)
-
可查看数据的导入历史记录(在历史纪录中应能将数据回溯到指定历史记录)

2.4 导入操作
- 到需要导入数据的环境把刚才从其他环境导出的数据直接导入
- 导入后可以收到成功导入的提示
-
可以在查看导入记录中查看导入的历史记录

3.数据存储格式和导入导出规则
- 静态数据导出后统一存储成json格式
- 数据导出导入工作流:线上生产环境配置——>导出全量数据——>内网测试环境导入全量数据
- 线上生产环境仅允许导出不允许导入(导入按钮不可用或不显示)
- 内网环境导入时,做数据的全量覆盖(ID冲突时数据覆盖,ID不冲突时进行新增)
- 当进行数据导入时发现其依赖的前后置关系数据丢失,则该字段自动填充默认值
- 所有数据的导入仅进行数据库修改,并不热载的游戏服务器,需要到指定模块的对应数据下点击热载或设置到指定环境才进行数据的服务器热载。
注:
- 不支持跨租户数据导入,只支持同一租户的导出和导入
- 不支持从测试环境到线上生产环境的导入,避免正式环境数据被覆盖风险